г. Москва, 5-й Донской пр-д, д. 17
Ежедневно с 09:00 до 21:00
Пн-Пт 09:00-18:00
Официальный магазин
60 дней на возврат
Официальная гарантия
Доставка до ПВЗ — бесплатно!
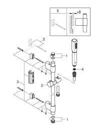
Душевой гарнитур GROHE Grandera имеет современный дизайн и включает в себя все необходимые функциональные элементы для душа.
Ручной душ GROHE Grandera Stick имеет лейку 50 мм и поставляется с 900-миллиметровой штангой и 1750-миллиметровым металлическим душевым шлангом. Душевая лейка создает 1 тип струи — Rain, а с помощью держателя с надежным креплением может устанавливаться на любом месте штанги. Система монтажа дает возможность установить штангу в уже имеющиеся отверстия. Силиконовые форсунки легко очищать от грязи и известкового налета простым протиранием. Изделие выполнено из такого надежного материала, как латунь и имеет хромированное покрытие, устойчивое к царапинам, которое сохранится на долгие годы. А благодаря специальному охлаждающему каналу в конструкции, предотвращает ожоги от горячих поверхностей.
Душевой гарнитур включает в себя:
Может использоваться с проточным водонагревателем.
Покупатели пока не оценили товар.
