Используем куки, рекомендательные технологии и аналитику для того чтобы вы могли полноценно пользоваться сайтом. Оставаясь с нами, вы соглашаетесь на использование файлов куки и обработкой ваших персональных данных.
Официальный магазин
60 дней на возврат
Официальная гарантия
Доставка до ПВЗ — бесплатно!
Уважаемые покупатели, с 5 по 9 мая, в связи с ограничениями работы мобильного интернета и доставкой СМС, могут возникать сложности с авторизацией на сайте. Пожалуйста, используйте электронную почту.
Touch: включение подачи воды прикосновением голой части руки.
Электропитание от литиевой батарейки 6 V, тип CR-P2.
Одобрено в СE.
Магнитный клапан.
Фиксированный расход воды при подаче воды с использованием сенсора.
Автоматическое безопасное выключение подачи воды после 60 сек. непрерывной работы (заводская настройка).
Тип защиты IP 44.
Хромированное покрытие поверхности.
Керамический картридж 35 мм.
Изолированный водоток - вода не контактирует с металлами корпуса смесителя.
Легкое вытяжение и возврат головки аэратора в исходное положение.
Выдвижная лейка с 3 режимами струи.
Переключение: ламинарный режим струи/SpeedClean, душевой jet/GROHE Blade режим jet (снижает расход воды до 70 % и увеличиывает напор воды).
Функция stop - кнопка паузы, чтобы остановить поток воды.
Автоматический возврат на ламинарный режим струи.
Регулировка расхода воды.
Поворотный трубкообразный излив.
Угол поворота 360°.
С защитой от обратного потока.
Гибкая подводка.
Преимущества модели:
GROHE Zero
Не содержащий свинца и не подверженный коррозии сплав, применяемый для изготовления смесителей
Свинец был заменен безвредными металлами, такими как медь, что позволило свести к абсолютному минимуму вероятность загрязнения питьевой воды частицами свинца. Новый сплав GROHE Zero® отличается непревзойденной долговечностью. Доказано, что по устойчивости к коррозии он превосходит обычную латунь в пять раз. Начиная с 2020 года смесители с технологией GROHE Zero® комплектуются дополнительным пластиковым каналом, который соединяет картридж и аэратор. Таким образом полностью исключается контакт воды и металла корпуса.
Технологии GROHE Speed Clean
Быстрое удаление известкового налета
Сопла в душевых лейках создаются из многокомпонентного силикона, который предотвращает образование известковых отложений. Поэтому достаточно протереть тряпкой или рукой поверхность душа для легкого избавления от извести.
Технология GROHE FastFixation Plus
Установка без инструментов
За счет технологии GROHE FastFixation Plus мы добились уменьшения количества съемных деталей, что упрощает процесс установки. Вам не понадобятся никакие инструменты, а это значит, что такой подход позволит вам сэкономить много времени!
Технология GROHE Long-Life Finish
Стойкое долговечное покрытие
Повышенная устойчивость к царапинам и сохраняет первозданный внешний вид на долгие годы.
Технология GROHE Magnetic Docking
Магнит упрощает возврат выдвижной лейки или аэратора в исходное положение
Мощный встроенный магнит притягивает головку лейки или аэратор на предназначенное для неё место, когда головка приближается к держателю.
Характеристики
Технические характеристики
Управление
сенсорное
Механизм управления
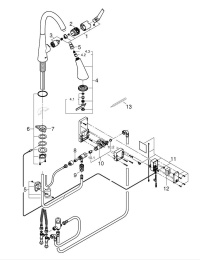
Керамический картридж – запорный элемент внутри смесителя, смешивающий потоки воды с помощью смещения двух металлокерамических пластин. Чаще всего устанавливается в однорычажных смесителях. Керамическая кран-букса – внутренний блок узла смесителя, смешивающий воду с помощью смещения двух керамических пластин. В большинстве случаев устанавливается в двухвентильных смесителях. Термостатический картридж (термостат) – конструкция в смесителе, регулирующая температуру и напор воды. Электромагнитный клапан — это дистанционно управляемое запорное устройство, регулирующее подачу воды в автоматическом режиме. Резиновая кран-букса – внутренний блок узла смесителя, имеющий в составе резиновую прокладку.
керамический картридж
Диаметр картриджа
35 мм
Излив
вытяжной, поворотный
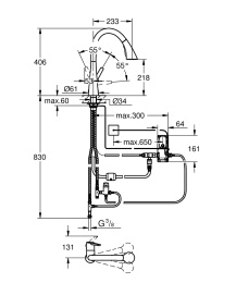
Высота излива
218 мм
Длина излива
233 мм
Расход воды
9 л/мин
Подключение
Внешний / встраиваемый монтаж
внешний
Тип монтажа
на мойку, на столешницу
Количество монтажных отверстий
1
Стандарт подводки
3/8 дюйма
Тип подводки
гибкая
Функции и оснащение
Источник питания
батарея 6V
Донный клапан
отсутствует
Ограничение расхода воды
есть
Дополнительное оснащение
гибкая подводка
Особенности
защита от обратного потока, функция экономии расхода воды
Технологии
GROHE FastFixation Plus, GROHE Long-Life Finish, GROHE Magnetic Docking, GROHE SpeedClean, GROHE Zero
Дизайн
Коллекция
Zedra Touch
Материал
латунь
Цвет
хром
Поверхность
глянцевая
Производитель и гарантия
Страна производства
Допускается отличие страны изготовителя, указанной в характеристиках. Линии производства могут находиться в нескольких государствах. Это не влияет на качество изготовления техники: все заводы бренда работают по общим стандартам, а готовые изделия проходят соответствующий контроль.
Португалия
Срок гарантии
12 мес
Бренд
GROHE
Состав комплекта
смеситель, комплект для подключения
Дополнительная информация
Обратите внимание:
Производитель вправе изменять параметры продукции без дополнительного уведомления. Информация о технических характеристиках, комплекте поставки, стране изготовления и внешнем виде товара может отличаться от фактической и основывается на последних доступных к моменту публикации данных. Обязательно ознакомьтесь с руководством пользователя до начала использования товара.
Размер упаковки
Длина
59 см
Высота
8.5 см
Ширина
30 см
Вес
5.315 кг
Отзывы
Отзывов нет
Покупатели пока не оценили товар.
Вопросы и ответы
Видео
Технология GROHE SpeedClean
Видео-инструкция по эффективной очистке форсунок ручного душа с технологией SpeedClean от известкового налёта. Быстро и просто!
Технология GROHE SpeedClean
Видео-инструкция по эффективной очистке форсунок ручного душа с технологией SpeedClean от известкового налёта. Быстро и просто!
Смесители GROHE Zedra: премиальное качество и дизайн
Видео-обзор подчеркивает инновационные технологии, безупречное качество и уникальный дизайн, сочетающий стиль и функциональность.
Установка
Смеситель для кухни GROHE Zedra Touch сенсорный с вытяжным душем 3jet, хром (30219002)